Страница: 5/8
Напряжение —фаза — временной интервал—число — код. Кодирование по данной схеме представлено на рис. 13.12, а. Измеряемое напряжение поступает на фазосдвигающее устройство ФСУ, питаемое от источника переменного тока с частотой /. В зависимости от значе- • ния Ua изменяется фазовый угол между напряжениями е и еч на выходе ФСУ. Этот угол соответствует временному интервалу t=^/(2nf) измерителя фазового угла ИФ (рис. 13.12,6). Последний представляет собой /?5-триг-гер с инверсными входами, меняющий
состояние 0 на 1 в момент перехода напряжения е через нуль и 1 на 0 при переходе через нуль напряжения еч, как показано на рис. 13.12, б. Таким образом, на выходе возникает импульс длительностью /, который затем подается на ключ, и дальше все происходит, как и в предыдущем преобразователе (см. рис. 13.11).
К погрешностям, имеющимся в схеме рис. 13.11, в преобразователе по схеме рис. 13.12 добавляется погрешность от нестабильности характеристики фазосдвигающего устройства и точности измерителяфазового угла, фиксирующего момент прохождения напряжения через нуль.
Рис. 13.12. Преобразователь измеряемого напряжения в код с промежуточным преобразованием входной величины в фазу переменного напряжения:
а — функциональная схема; б — временные диаграммы
Напряжение — частота — число — код. Кодирование по такой схеме показано на рис. 13.13. Измеряемая величина и, в частотно-импульсном преобразователе ЧИП, представляющем собой генератор импульсов, модулируемых по частоте, преобразуется в последовательность импульсов с частотой f=p(u). Хронизирующее устройство Т на ранее заданный интервал времени t открывает элемент И, и импульсы с ЧИП поступают на счетчик СТ2. Больше или меньше пройдет импульсов на счетчик, зависит от их частоты. Погрешность преобразования зависит от нестабильности и нелинейности характеристики f=j(u) частотно-импульсного преобразователя.
Непосредственное преобразование напряжения в код. В этих преобразователях образуемый в кодирующем устройстве код преобразуется в напряжение, которое сравнивается с измеряемым напряжением. При равенстве напряжений образование кода прекращается и он подается на выход.
Преобразователь последовательного счета (рис. 13.14). Перед началом работы счетчик СТ2 сбрасывается на нуль (рис. 13.14, а). Показания счетчика преобразуются с помощью цифро-аналого-вого преобразователя ЦАП в напряжение, поступающее на схему сравнения СС. В начале преобразования, пока напряжение щ: с ЦАП меньше преобразуемого напряжения Чх, элемент Ио открыт и счетчик считает импульсы с генератора импульсов ГИ. Когда м»>й.с, схема сравнения СС закрывает элемент Ио и подает сигнал на элементы И—Ип для считывания двоичного кода со счетчика. Количество импульсов, поступивших на счетчик, пропорционально преобразуемому напряжению Ux.
На рис. 13.14,6 показано, как от каждого импульса, поступающего с ГИ, увеличивается преобразованное в ЦАП (этот преобразователь будет рассмотрен позже) напряжение:
Uk=UoN (13.5)
Чем больше число импульсов в данном интервале счетчика, тем меньше значение xUo=Uk-Ux (рис. 13.14, б). Нестабильность частоты генератора импульсов не влияет на точность преобразования напряжения в код.
Преобразователь по методу поразрядного кодирования (взвешивания). Он имеет более широкое применение
|
|
Рис. 13.14. Компенсационный кодирующий Преобразователь последовательного счета:
б — временная диаграмма

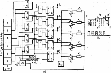
Рис. 13.15. Преобразователь по методу поразрядного кодирования:
а—функциональная схема; б—пример преобразования измеряемой величины в код;
в — код, снимаемый с триггеров
вследствие большей по сравнению с другими преобразователями точности и высокого быстродействия.
В состав преобразователя, функциональная схема которого представлена на рис. 13.15а, входят следующие узлы: распределитель, преобразователь кода в напряжение ЦАП (он состоит из цифрового регистра на триггерах T1-T5, ключей K1—K5, декодирующей сети сопротивлений и источника эталонного напряжения) и компаратор Кр, предназначенный для сравнения двух напряжений (входного сигнала их и сигнала Еэт с выхода ЦАП) и выработки выходного сигнала управления.
Реферат опубликован: 27/02/2009